河南省 许昌市一个158移动手机尾号为88888的使用权,拍卖成功!你觉得值吗?
来源:手机号码 编辑:选选号 发布时间:2021-02-01
拍卖成功!一个移动手机号码158XXX88888的使用权,在淘宝阿里司法拍卖平台拍卖成交。
成交时间: 2020/05/31 10:24:0659次延时
参与人数:18 人报名350 人设置提醒11921 次围观

一、拍卖标的:
一个移动手机号码158XXX88888的使用权。评估价138000,起拍价:96600元 保证金:10000元,增加幅度:1000.00元(以及其整倍数)。

处置单位:鄢陵县人民法院
标的物名称:一个移动手机号码158XXX88888的使用权
网拍公告时间:2020/04/27 14:30:06
网拍开始时间:2020/05/30 10:00:00
网拍结束时间:2020/05/31 10:24:06

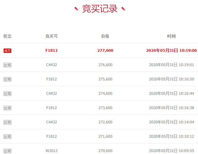
二、网络拍卖竞价结果:
用户姓名郑某某通过竞买号F1812于2020年05月31日在鄢陵县人民法院于阿里拍卖平台开展的“一个移动手机号码158XXX88888的使用权”项目公开竞价中,以最高应价胜出。
该标的网络拍卖成交价格:277600(贰拾柒万柒仟陆佰元)

在网络拍卖中竞买成功的用户,必须依照标的物《竞买须知》、《竞买公告》要求,按时交付标的物网拍成交余款、办理相关手续。
标的物最终成交以鄢陵县人民法院出具拍卖成交裁定为准。
- 头条资讯
- 手机号
- 手机尾号
深圳移动FTTR套餐有哪些优势和弊端
深圳移动FTTR套餐的优势和弊端分析如下:优势全屋光纤覆盖,信号稳定:FTTR(Fiber to The Room)技术将光纤铺设到家庭的每个房间,实现了全屋Wi-Fi6千兆全覆盖。这确保了无论在哪个房间,用户都能享受到稳定、高速的网络连接。
关键词: 深圳移动FTTR套餐
深圳联通FTTR套餐有哪些优势和弊端
深圳联通FTTR套餐的优势和弊端分析如下:优势全屋光纤覆盖,信号无死角:FTTR技术通过光纤到房间的方式,实现了全屋网络覆盖,信号无盲区。无论在哪个房间,用户都能享受到稳定、高速的网络连接。
关键词: 深圳联通FTTR套餐
深圳电信FTTR套餐有哪些优势和弊端
深圳电信FTTR套餐的优势和弊端分析如下:优势超带宽与低延迟:FTTR(Fiber to The Room)技术通过将光纤铺设到每个房间,实现了全屋光纤覆盖,提供了超高的网络带宽。光纤传输速度快,延迟低,能够满足高清视频、大型游戏、云计算等高带宽应用的需求。
关键词: 深圳电信FTTR套餐
情人节送什么礼物好,来个手机靓号给Ta个惊喜
送一个手机靓号作为情人节礼物确实是一个独特且富有创意的想法,这样的礼物不仅实用,还能给TA带来一份特别的惊喜。不过,在选择和赠送手机靓号时,有几点需要注意:
电信优享版49元套餐资费详情
在电信流量卡市场中,随着产品的更新换代,一些旧套餐可能会逐渐下架,而新的套餐则会应运而生。针对您提到的电信19元流量卡已下架的情况,新推出电信优享版49元套餐的
关键词: 电信新星卡 电信19元流量卡套餐
联通卡19元无限流量卡,真的有吗?
联通卡19元无限流量卡,真的有吗?联通19元无限流量卡是最近网上比较火热的一个话题,很多人都想知道这款卡到底是否存在,是否真的可以做到无限流量。
关键词: 联通卡19元无限流量卡
2024北京电信宽带套餐价格表 北京电信宽带套餐价格表2024年
2024北京电信宽带套餐价格表 北京电信宽带套餐价格表2024年,电信宽带2024最新套餐为:1、169元套餐,500兆光纤40G800分钟。2、239元套餐,千兆光纤和80G流量,还有1000分钟国内通话。
关键词: 北京电信宽带 电信宽带办理电话 电信宽带套餐2024
手机号码归属地查询方法-怎么查
手机号码归属地查询方法怎么查?如果手机较先进的话,只要有电话拨打自己的号码都可以看到归属地的,但是还是有部分的手机是不显示的,那么对于不显示的手机,怎么才能知道该手机号码的归属地呢?
关键词: 手机号码归属地查询方法
洛阳联通5g套餐资费详情(2024资费套餐一览表)
洛阳联通5g套餐资费一览表,目前洛阳地区可以选择的5g套餐有一下档次可以供您选择,可以根据个人月消费情况进行自由选择5g网络服务,开启5G网速,2024资费套餐一览表。
关键词: ?洛阳联通5g套餐资费详情





















